子棉烘干设备类型较多,结构也各不相同,但采用的基本原理大都相同,都是以空气为介质,先将空气加热,以提高空气的温度并降低空气的相对湿度,然后将加热的空气送入子棉输送系统和烘干机内,使流动中的热空气与子棉接触,产生热交换,从而蒸发棉纤维中的水分,蒸发出来的水分由热空气吸收,达到烘干子棉的目的。
(一)国产烘设备
1.塔式烘棉机
塔式烘棉机是专门烘干子棉的设备,其规格随制造厂的不同而有所差别,一般宽度在1.22~1.83m,长度在1.83m左右,16~24层,每层高216~254mm,如图7-5所示。
子棉由专门的喂料器喂入与热空气相接的管道内,依靠加热器加热后的空气,将子棉压入塔式烘干机顶部侧面的进棉口,使子棉自上往下逐层运动。在子棉与热空气接触过程中进行热交换,从子棉中蒸发出的水分被热空气吸走。子棉达到底层后,从输出口随热空气离开烘干机,进入后道清花机继续进行处理。
塔式烘棉机结构简单,子棉通过量大,生产率高,所以几十年来一直使用这种烘棉机。子棉在输送管中的速度一般为2013~25.4m/s,在塔式烘棉机内的速度只有8.46~11.2m/s,要降低一半多;塔式烘棉机进口极限温度为176℃,正常使用时,进口温度约为120℃;它的生产率为每小时5~10t,视烘棉机的宽度、层高、子棉的品种和热空气的输入量不同而不同。
据统计,塔式烘棉机的热效率大约只有16%,所以,在烘干过程中,为了提高子棉烘干效能,减少热量损失,在可能的条件下,烘干设备的金属外壳、热空气管道,需要采取隔热措施。子棉喂入和通过管道及烘干机应尽量保持松散均匀,以便与热空气充分接触,提高烘干效能。
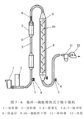
2.MGZ—B型脉冲—搁板增热式子棉干燥机
MGZ—B型脉冲—搁板(含有增热、保温搁
层)增热式子棉干燥机是组合式子棉干燥设备。
是在借鉴、引进美国先进技术的基础上,结合我国棉花加工工艺的特点研制成功的,如图7-6所示。在搁板式干燥机前组合了脉冲干燥器,充分利用物料在加速段所具有的高传热传质效果,采用管径交替缩小和扩大的脉冲气流,强化传热、传质速度,提高热能利用率。烘干部分分脉冲和搁板两部分,脉冲部分为几段不等径管连在一起垂直放置,子棉在被热空气输送的过程中,速度会随着管径的不同发生变化,达到去除水分的目的,搁板部分与塔式烘干机相似,子棉从下至上经过脉冲部分后,进入搁板部分的上部,从上而下逐层运动,经下部进入输送管道,后由卸料器卸出子棉。

MGZ—B型子棉干燥机由烘干主机(干燥塔)、脉冲干燥器、子棉控制箱、供热系统、保温系统、供热风机、保温风机以及连接管道组成。
子棉从货场经气力输送管路送至子棉控制箱上部子棉分离器进料口,经子棉控制箱下部闭风阀出料口卸料后与供热系统的热空气混合后进入烘干管路,先经脉冲干燥器,然后从干燥塔顶部入口进入塔体内,塔内的烘干搁板及保温搁板使子棉得到充分干燥。干燥后的子棉通过塔体下部出棉口进入清花机上部的子棉分离器,子棉与热空气分离后,进入清花机,废热空气通过除尘器净化后排出,从而完成全部烘干过程。
除输送管道外,该机的烘干部分均敷有硅酸镁保温材料,所以它的热效率很高。据测,烘去2%的水分,每50kg皮棉需要11296.8kJ的热量,而塔式烘干机则需46024kJ的热量。
MGZ—B型子棉干燥机系统的热源可以为烟道分离式燃煤热风炉,也可以为导热油炉或蒸汽锅炉,可根据地区情况不同任选一种。
3.脉冲—转筒组合式子棉干燥机
脉冲—转筒组合式子棉干燥机的大优点是可根据用户需求增加随机排僵瓣棉和除杂的功能。缺点是占地面积较大,有传动机构,成本较高(但与之配套风机电动机的价格低)。
脉冲—转筒组合式子棉干燥机如图7-7所示。

版权声明
本文仅代表作者观点,不代表本站立场。
免责声明:素材源于网络,如有侵权,请联系删稿。
- 上一篇: 子棉的加湿与干燥 子棉烘干设备
- 下一篇: 柯桥67家企业上榜全市纺织业百强 彰显纺织强区地位













