在织机上,为了使织造过程能连续不断地进行,必须把已经形成的织物连续不断地、均匀地引离织口,并卷成一定的卷装,这就是织物的卷取运动。卷取运动由卷取机构来完成。织物的机上纬密直接由卷取机构来确定。
卷取机构有机械卷取和电子卷取两种形式。
1.机械式卷取机构结构及原理
喷水织机卷取机构采用的是一种积极式连续卷取装置,见图3-19。织机运转时,通过主轴1上的同步带轮与同步齿形带2、同步带轮3,传动减速齿轮箱4,经离合器齿轮12和卷取主动齿轮13传动三只变换齿轮5,后一只变换齿轮传动齿轮22,与齿轮22同轴的有链轮15和小齿轮16,小齿轮16可传动卷取齿轮17,而卷取齿轮17与摩擦辊6同轴,故带动摩擦辊6一起转动。摩擦辊6的表面包覆一层糙面橡胶,在两根压辊的作用下与绕在摩擦辊表面的织物产生摩擦作用而将织物送到卷布辊处。卷布辊7是由卷取链轮15经链条18传动飞轮19,与飞轮19同轴的齿轮传动与卷布辊7同轴的卷布辊主动齿轮20,从而带动卷布辊7转动。随着卷布辊不断地卷取织物,卷布辊直径不断增大,织物的张力也就增大,这时,卷取制动器8发挥打滑作用,使卷布辊转速变慢,从而使织物的张力下降,保持在一定的水平上。采用手动卷取及倒卷时,可以将卷取踏板10踩下,使离合器啮合齿轮12脱开,然后转动卷取手柄11,即可进行手动卷取及倒卷。

计数齿轮14与摩擦辊6同轴一起转动,然后带动计长表21工作,显示已织织物的长度。
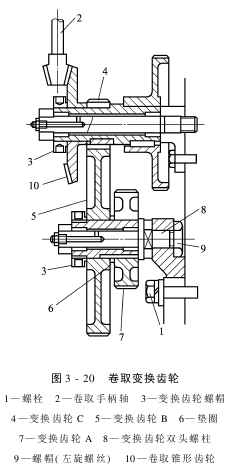
2.纬密设定
单位长度织物内所包含的纬纱根数,就是织物的纬密,也称织物的纬纱密度或纬向密度。公制纬密以10cm为计算单位(英制纬密以1英寸为计算单位)。织物的纬密取决于在织机的一个工作周期内,即织机每织入一根纬纱,卷取机构所卷取的织物长度。卷取的长度长,纬密小;卷取的长度短,纬密大。因此,在改变织物品种时,如果织物的纬密不同,卷取机构必须作相应的调整。
喷水织机纬密以A、B、C三只变换齿轮的组合来确定,见图3-20。把三只变换齿轮的不同组合所形成的纬密编制成表,称为纬密表。在实际织造时,按织物所需纬密在纬密表中选用合适的三只变换齿轮的齿数。
(1)要变的纬密,若在织机的送经变换齿轮所能覆盖的密度范围内仅将A、B、C三只变换齿轮改组即可。

AAAZXCASFWEFERH
卷取机构有机械卷取和电子卷取两种形式。
1.机械式卷取机构结构及原理
喷水织机卷取机构采用的是一种积极式连续卷取装置,见图3-19。织机运转时,通过主轴1上的同步带轮与同步齿形带2、同步带轮3,传动减速齿轮箱4,经离合器齿轮12和卷取主动齿轮13传动三只变换齿轮5,后一只变换齿轮传动齿轮22,与齿轮22同轴的有链轮15和小齿轮16,小齿轮16可传动卷取齿轮17,而卷取齿轮17与摩擦辊6同轴,故带动摩擦辊6一起转动。摩擦辊6的表面包覆一层糙面橡胶,在两根压辊的作用下与绕在摩擦辊表面的织物产生摩擦作用而将织物送到卷布辊处。卷布辊7是由卷取链轮15经链条18传动飞轮19,与飞轮19同轴的齿轮传动与卷布辊7同轴的卷布辊主动齿轮20,从而带动卷布辊7转动。随着卷布辊不断地卷取织物,卷布辊直径不断增大,织物的张力也就增大,这时,卷取制动器8发挥打滑作用,使卷布辊转速变慢,从而使织物的张力下降,保持在一定的水平上。采用手动卷取及倒卷时,可以将卷取踏板10踩下,使离合器啮合齿轮12脱开,然后转动卷取手柄11,即可进行手动卷取及倒卷。

2.纬密设定
单位长度织物内所包含的纬纱根数,就是织物的纬密,也称织物的纬纱密度或纬向密度。公制纬密以10cm为计算单位(英制纬密以1英寸为计算单位)。织物的纬密取决于在织机的一个工作周期内,即织机每织入一根纬纱,卷取机构所卷取的织物长度。卷取的长度长,纬密小;卷取的长度短,纬密大。因此,在改变织物品种时,如果织物的纬密不同,卷取机构必须作相应的调整。
喷水织机纬密以A、B、C三只变换齿轮的组合来确定,见图3-20。把三只变换齿轮的不同组合所形成的纬密编制成表,称为纬密表。在实际织造时,按织物所需纬密在纬密表中选用合适的三只变换齿轮的齿数。
(1)要变的纬密,若在织机的送经变换齿轮所能覆盖的密度范围内仅将A、B、C三只变换齿轮改组即可。

(2)若要变的纬密超出织机的送经变换齿轮所能覆盖的密度范围时,则需将送经变换齿轮与卷取变换齿轮重新组合。
(3)不同规格的A齿轮在卷取手柄轴2上有不同的安装位置,安装时要注意。
3.卷布张力自动调整装置
织机运转过程中,随着卷布辊外径逐渐增大,依靠卷取制动器的打滑作用,使卷布辊转速变慢,从而使织物保持一定的张力,如图3-21所示。其中,14为防倒转装置,用来防止织机在运转过程中因织物张力过大而引起的卷布辊倒转。通过调整手柄轴2与刹车柄3、扭力调整螺母9及锁紧螺母10可实现卷布张力的自动调整。

有的喷水织机已经采用了电子卷取机构。其结构原理如图3-22所示,其主要的特点是卷取机构由一个单独的电动机驱动,同原机械式卷取机构相比大大简化;调节纬密只需改变电动机转速即可;可通过编制织物组织程序,实时控制卷取电动机转速,织造变纬密织物;与电子送经联动,由织机电控系统统一控制,使织轴和卷布辊同步工作,相互匹配,用来消除由于经纱张力变化而造成的开车稀、密档,云织等织疵,提高织物质量,便于操作。

(3)不同规格的A齿轮在卷取手柄轴2上有不同的安装位置,安装时要注意。
3.卷布张力自动调整装置
织机运转过程中,随着卷布辊外径逐渐增大,依靠卷取制动器的打滑作用,使卷布辊转速变慢,从而使织物保持一定的张力,如图3-21所示。其中,14为防倒转装置,用来防止织机在运转过程中因织物张力过大而引起的卷布辊倒转。通过调整手柄轴2与刹车柄3、扭力调整螺母9及锁紧螺母10可实现卷布张力的自动调整。

4.电子卷取机构

版权声明
本文仅代表作者观点,不代表本站立场。
免责声明:素材源于网络,如有侵权,请联系删稿。
- 上一篇: “干播湿出”初见成效 百万亩棉花长势喜人
- 下一篇: 穿上牛仔半身裙让你在夏日美出新高度














