复合面料知识 第1206页
-
置顶纳米膜复合面料和纳米纤维复合面料助力智能堆肥发酵技术系统
纳米膜智能堆肥发酵技术系统可根据项目县的总粪污量提供相应的解决方案,规划粪污处理中心,分散式布置,集中处理,进行共享利用,减少运输成本,解决环保臭味问题。 中文名:纳米膜智能堆肥技术特 点:防水、对周边环境影响小、无臭味溢出等技术特点纳米膜智能堆肥不需要建设厂房、搭棚,只需进行场地硬化,可兼容当前主流的槽式和条垛式堆肥已有基建,设备使用寿命长达8-10年;环保无臭。纳米膜是高分子选择性透气膜,具有防水、透湿、杀菌、除臭等功能,对周边环境影响小,无臭味溢出,不用搭载臭气收集及处理设备;...
-
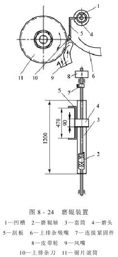
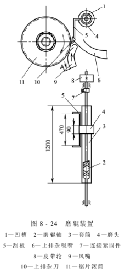
锯齿轧花理论 棉子的排出
有一种理论很注重工作箱内棉子的排出,认为要提高锯齿轧花机的生产率,首先应减少棉子在工作箱内的逗留时间。另外,一定要增加喂花量及棉子的排出量,以保持高产下的平衡。 如图8-22所示,单粒子棉上的纤维是逐渐轧脱的;当单粒子棉初次接触锯齿时,由于棉子上带有大量的纤维,故能被锯齿勾住的纤维相对较多。随着轧剥次数的增加,棉子上的长纤维越来越少,单粒子棉能被锯齿勾住的纤维也越来越少,即单粒子棉的轧剥机会越来越少。此外,单粒子棉的轧剥进度与其在工作箱内的逗留时间的曲线以横坐标为渐近线,即单粒子棉在工作箱内逗留时间无限长时,其上...
-
锯齿轧花理论 杂质的排落和刷棉
国家标准《棉花细绒棉》(GB1103—1999)规定不孕子含棉率为20%~30%。而锯齿棉的轧工质量与后箱的排杂效果有很大关系。后箱排出的杂质按排杂部位的不同,又可分为上排杂和下排杂。 (一)上排杂 从轧花肋条工作点到上排杂刀口(或前挡风板口)这一锯片弧长区域称为上排杂区域。上排杂包括上排杂区域内排出的杂质和上排杂刀口处排出的杂质。 当锯齿勾住纤维离开子棉卷进入轧花肋条排工作点间隙时,因失去了子棉卷对它的压力作用及外界空气的透入,使齿凹内的纤维不再紧紧地嵌在齿间而成为漂浮状态,即形成浮棉层,使杂质挣脱了纤维的缠绕...
-
新疆高温天气影响棉花生长发育(6.19-6.25)
本周(6月19日至6月25日),我国大部农区气温正常或较常年同期偏高1~4℃,其中河北南部、山西中南部、河南大部、山东中西部以及江苏西北部、安徽北部等地偏高4~6℃;新疆西部等地气温较常年同期偏低1~4℃。东北地区大部、内蒙古东部和中西部、华北北部以及黄淮东部、江淮北部以及河南东南部等地降水量有10~50毫米,局地50~...
-
锯齿轧花理论 杂质的排落和刷棉
国家标准《棉花细绒棉》(GB1103—1999)规定不孕子含棉率为20%~30%。而锯齿棉的轧工质量与后箱的排杂效果有很大关系。后箱排出的杂质按排杂部位的不同,又可分为上排杂和下排杂。 (一)上排杂 从轧花肋条工作点到上排杂刀口(或前挡风板口)这一锯片弧长区域称为上排杂区域。上排杂包括上排杂区域内排出的杂质和上排杂刀口处排出的杂质。 当锯齿勾住纤维离开子棉卷进入轧花肋条排工作点间隙时,因失去了子棉卷对它的压力作用及外界空气的透入,使齿凹内的纤维不再紧紧地嵌在齿间而成为漂浮状态,即形成浮棉层,使杂质挣脱了纤维的缠绕...
-
新疆:十三团18万亩棉花打顶工作全面展开
眼下正值棉花打顶、灌溉、追肥、病虫害防治的关键期,也是棉花营养生长和生殖生长并进时期。新疆生产建设兵团农一师十三团采取多项举措狠抓棉花田间管理,18万棉花全面开始打顶工作。 为推动各连队职工做好棉花打顶及棉花的中、后期田管工作,十三团各连队职工牢固树立丰产不到手、田管不松手的思想,由农业发展服务中心牵头,把高新农业...
-
新疆芳草湖:53.3万亩棉花打顶工作全面展开
当前正值棉花打顶、灌溉、追肥、病虫害防治的关键期,也是棉花营养生长和生殖生长的并进时期,第六师芳草湖农场采取多项举措狠抓棉花田间管理,53.3万亩棉花全面开始打顶工作。 为推动36个连队职工做好棉花打顶及棉花的中、后期田管工作,芳草湖农场各连队职工牢固树立丰产不到手、田管不松手的思想,由农业发展服务中心牵头,把高新农...
-
棉子剥绒的要求和工艺流程 短绒与棉子的分离方法
目前短绒与棉子分离采用化学脱绒与机械脱绒两种方法。 化学脱绒是用硫酸、盐酸、氯化氢气体等腐蚀性化学试剂对棉子进行处理,将棉子上的短绒腐蚀掉,达到脱绒目的。经化学处理后,棉子上的短绒全被腐蚀,资源无法利用,而且消耗费用较高,但它的优点是棉子中的细菌、病毒、虫害等均可消除,为机械播种创造了有利条件。因此,专门作为种子用的棉子(良种棉子),适合采用化学脱绒的方法。 机械剥绒的优点是通过机械作用,使短绒与棉子分离后所获得的短绒得以充分利用,提高经济效益。另外,棉子上不同长度的短绒可以分别剥取下来,分成几种类型,以满足不同用...
-
江苏建湖县强化纺织行业安全检查
为做好纺织企业安全生产工作,防止事故发生,近日,建湖县应急管理局和县消防救援大队对建湖县52家规上纺织企业开展专项执法行动,夯实纺织行业夏季高温生产安全基础。 隐患直击,安全管理与生产现场双管齐下。针对纺织企业行业特点,重点检查企业安全生产教育培训,建立应急救援体系,合理设置疏散路线、疏散距离、通道宽度、疏散标志等...
-
棉子剥绒的要求和工艺流程 棉短绒生产的要求
(一)分道剥绒 按国家规定,棉短绒分三类,每类又分3个等级。一类绒一般为头道绒,二类绒一般为二道绒,三类绒一般为三道绒。不同长度的短绒有不同的用途,因此,必须分道剥绒,分类、分级打包,使生产的各类短绒具有规定的长度和较好的品质。 为了保证各道短绒的长度符合使用部门的要求,必须贯彻“头道轻剥,二道多剥,三道争取剥光”的原则。 “头道轻剥”即在剥绒过程中,尽可能不使13mm以下的短绒在头道中被剥下,以保证一类绒的长度,提高其使用价值。头道绒的出绒率应不超过棉子毛头率的3倍。 “二道多剥”就是重剥二道绒。二道绒是军工生产...















